无锡市鑫琳电器成套有限公司欢迎您!
导航
产品展示
主要生产符合国家标准的各类电缆冷压接线片及电力配件

铜铝接线端子(DTL)

用途:
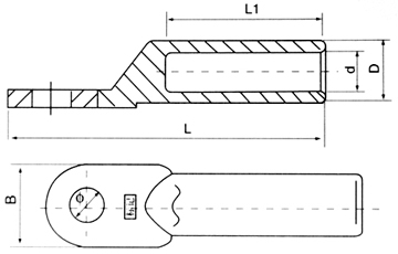
   DTL系列铜铝接线端子适用于配电装置中各种圆型、平面扇型铝线、电力电缆与电气设备铜端的过渡连接。使用铝材为L3,铜材为T2,产品采用摩擦焊工艺制造,具有焊缝强度高,通电性能好,抗电化腐蚀,使用寿命长等特点。

型号 ф D d L L1 B
DTL-1-10 8.5 10 6 68 28 16
DTL-1-16 8.5 11 6 70 30 16
DTL-1-25 8.5 12 7 75 34 18
DTL-1-35 10.5 14 8.5 85 38 20.5
DTL-1-50 10.5 16 9.8 90 40 23
DTL-1-70 12.5 18 11.5 102 48 26
DTL-1-95 12.5 21 13.5 112 50 28
DTL-1-120 14.5 23 15 120 53 30
DTL-1-150 14.5 25 16.5 126 56 34
DTL-1-185 16.5 27 18.5 133 58 37
DTL-1-240 16.5 30 21 140 60 40
DTL-1-300 21 34 23.5 160 65 50
DTL-1-400 21 38 27 170 70 55
DTL-1-500 21 45 29 225 75 60
DTL-1-630 - 54 35 245 80 80
DTL-1-800 - 60 38 270 90 100
Copyright ©无锡市鑫琳电器成套有限公司 All reserved. 苏ICP备18032343号-1