无锡市鑫琳电器成套有限公司欢迎您!
导航
产品展示
主要生产符合国家标准的各类电缆冷压接线片及电力配件

堵油系列铝接线端子(DL)

用途:
  接线端子适用于配电装置中电线、电力电缆与电器设备的连接。DL系列铝接线端子采用(L3)铝棒料压制、DT系列铜接线子采用(T2)铜棒压制。
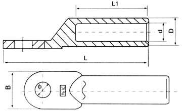
外型及安装尺寸:

型号Type ф D d L L1
DL-10 8.5 9 6 68 28
DL-16 8.5 10 6 70 30
DL-25 8.5 12 7 75 34
DL-35 10.5 14 8.5 85 38
DL-50 10.5 16 9.8 90 40
DL-70 12.5 18 11.5 102 48
DL-95 12.5 21 13.5 112 51
DL-120 14.5 23 15 120 53
DL-150 14.5 25 16.5 126 56
DL-185 16.5 27 18.5 133 58
DL-240 16.5 30 21 140 60
DL-300 21 34 24 160 65
DL-400 21 38 26 170 70
DL-500 21 45 29 190 75
DL-630 21 54 35 220 85
DL-800 21 60 38 250 100
Copyright ©无锡市鑫琳电器成套有限公司 All reserved. 苏ICP备18032343号-1